Im Folgenden die Produktinformationen im Markdown-Format:
markdown
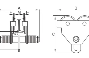
Stromrolle mit Zahnrädern PT-CA | Produktcode: 1302
O Stromwandler mit Zahnrädern é um dispositivo especialmente projetado para facilitar o sanfte Verschiebung von schweren Lasten entlang aufgehängter Träger, typischerweise vigas I (vigas em I). Anders als ein einfacher oder manueller Wagen integriert dieses Modell ein Zahnradsystem, garantindo uma einfache und kontrollierte Bedienung.
Eigenschaften und Vorteile
- Manuelle Betätigung per Kette: Beim manuellen Ziehen der Kette wird das Zahnradgetriebe aktiviert, was eine präzise und sanfte Bewegung entlang des Trägers mit minimalem Kraftaufwand ermöglicht.
- Verstellbare Balkenbreite: Durch verstellbare Abstandshalter kann der Wagen verschiedene Größen von I-Trägern aufnehmen.
- Erhöhte Sicherheit: Besitzt Sturzsicherungen, die nicht nur zusätzlichen Schutz bieten, sondern auch Schäden verhindern, wenn die Räder mit den Endschalteranschläge.
- Sanfte Seitliche Bewegung: Die Räder mit Kugellagern sind dauerhaft geschmiert und gewährleisten eine langanhaltende Leistung.
- Standard- und anpassbarer manueller Strom: Wird mit einer Standard-Handkette von 3 Metern geliefert; andere Längen auf Bestellung erhältlich.
- Konformität und Haltbarkeit: Totalmente in Übereinstimmung mit der Maschinenrichtlinie 2006/42/EG (Europäische Richtlinie), die Qualität und Zuverlässigkeit gewährleistet.
- Vielseitige Anwendungen: Geeignet für Balken mit Standard- und Überlängen, vielseitig einsetzbar in verschiedenen Industrieumgebungen.
Especificações Técnicas
| Produktcode | Carga Nominal | Carga de Teste (kN) | Erforderliche Zugkraft (N) | Raio Mínimo da Curva (m) | Abmessungen (mm) | Largura Ajustável da Viga (mm) | Peso Líquido (kg) |
|---|---|---|---|---|---|---|---|
| GTCA010 | 1t | 14.7 | 44 | 1 | 390x492x260 | 64-203 [Standard] / 102-305 [Erweitert] | 19.9 / 21.1 |
| GTCA020 | 2t | 29.4 | 80 | 1.1 | 400x502x300 | 88-203 [Standard] / 102-305 [Erweitert] | 28.5 / 30.6 |
| GTCA030 | 3t | 44.1 | 65 | 1.3 | 430x532x345 | 102-203 [Standard] / 102-305 [Erweitert] | 46 / 49.8 |
| GTCA050 | 5t | 73.5 | 90 | 1.4 | 444x544x390 | 114-203 [Standard] / 108-305 [Erweitert] | 57 / 60.8 |
| GTCA100 | 10t | 147 | 195 | 1.7 | 489x584x470 | 125-203 [Standard] / 117-305 [Erweitert] | 103 / 108.5 |
Produtos Relacionados
- Talha de Alavanca Modelo LH-A
- BC Balkenklammer (Vollständiger Produktname unbekannt)
Wagen für den Transport von schweren Lasten
Ein Fahrwagen ist ein wichtiges Gerät, das zum Transport schwerer Lasten entlang eines I-Trägers oder einer ähnlichen Schiene verwendet wird. Er besteht aus einer robusten Wagenkonstruktion, Rädern oder Rollen und einem Aufhängungssystem, um die Last sicher zu verbinden.
Handwagen
Handwagen sind ideal für Situationen, in denen das Bewegen des Wagens selten oder nur über kurze Strecken erfolgt. Da der Betrieb dieser Wagen jedoch manuelle Kraft erfordert, wird empfohlen, die maximale Tragfähigkeit für einfache Wagen auf 3 Tonnen (3000 kg) zu begrenzen und die Höhe des Trägers nicht über 20 Fuß (6 Meter) über dem Boden zu überschreiten.
Kettenwagen
Kettenwagen sind ideal für Anwendungen, bei denen die Wagenbewegung selten oder nur über kurze Strecken erfolgt, und eignen sich für Situationen, in denen einfache Wagen nicht ausreichen. Sie bieten eine ausgezeichnete Lastpositionierfähigkeit.
Die Bewegung des Wagens erfolgt durch Ziehen der Kette, wodurch das Zahnrad gedreht wird. Dieses Rad ist über Zahnräder oder Ketten mit den Rädern des Wagens verbunden. Die Verwendung von Wagen dieses Typs wird in folgenden Situationen empfohlen:
- Tragfähigkeit über 3 Tonnen (3000 kg):
- Höhe des oberen Trägers über 20 Fuß (6 Meter) über dem Bodenniveau:
- Präzise Positionierung der Ladung:
Schiebewagen
Schiebewagen werden häufig in Branchen wie Fertigung, Bau und Lagerhaltung eingesetzt. Sie helfen beim Transport schwerer Lasten in Bereichen, in denen Brückenkräne nicht einsetzbar sind, wie Maschinen, Ausrüstung und Materialien.
Diese Wagen können manuell geschoben oder mit einem Getriebesystem ausgestattet werden, um das Bewegen schwererer Lasten zu erleichtern.
Wie man einen Schiebewagen benutzt
- Verbinden Sie den Wagen mit der Last unter Verwendung eines Aufhängungssystems, wie Ketten, Gurte oder andere.
- Stellen Sie den Wagen auf die Schiene.
- Bewegen Sie den Wagen manuell entlang der Schiene oder verwenden Sie das Zahnradsystem.
- Transportieren Sie die Ladung zu den gewünschten Orten, starten, stoppen und positionieren Sie sie nach Bedarf.
Schiebewagen sind in verschiedenen Größen und Gewichtskapazitäten erhältlich, um unterschiedliche Anwendungen zu ermöglichen. Einige Modelle verfügen auch über verstellbare Breiten und Entgleisungsschutzsysteme für mehr Sicherheit und Stabilität.
Richtlinien für ordnungsgemäße Verwendung und Wartung
Immer:
- Lagern und handhaben Sie den Wagen ordnungsgemäß.
- Überprüfen Sie den Wagen, die Riemenscheiben und das Zubehör vor der Benutzung und während der Lagerung.
- Stellen Sie sicher, dass das Radprofil mit der Schiene kompatibel ist.
- Überprüfen Sie, ob die Breite des Wagens korrekt für die Schiene eingestellt ist.
- Stellen Sie sicher, dass die Schiene mit sicheren Endanschlägen installiert ist.
- Beim Verwenden eines Schieb-/Ziehwagens die Last schieben statt ziehen.
Nunca:
- Setzen Sie den Wagen widrigen Bedingungen aus, die ihn beschädigen oder seine Leistung beeinträchtigen könnten.
Sicherheits- und Gebrauchsanleitung für Transportwagen
Einschränkungen und Sicherheitshinweise
- Vermeiden Sie die Verwendung von Chemikalien (insbesondere Säuren), es sei denn, Sie konsultieren den Lieferanten.
- Üben Sie keinen Zwang auf den Aufhängehaken des Kinderwagens aus in einer Ladeleiste.
- Werfen Sie es niemals weg oder lassen Sie es fallen der Warenkorb.
- Vermeiden Sie es, den Wagen zu exponieren direkt in aggressive Umgebungen wie Wasser- oder Dampffontänen, es sei denn, Sie konsultieren den Lieferanten.
- Nicht verwenden Wagen mit abgesplitterten oder beschädigten Flanschen.
- Wenden Sie niemals seitliche Belastung am Wagen in einem Winkel an.
Auswahl des passenden Einkaufswagens
Die Wagen sind in verschiedenen Kapazitäten und Ausführungen erhältlich, die dafür ausgelegt sind, Hakenflaschenzüge mit Lastträgern oder integrierte Hängebühnen aufzunehmen. Es sind verschiedene Modelle verfügbar, darunter die Typen Schieben/Ziehen (manuell), kettenbetrieben und motorisiert. Bei der Auswahl eines Wagens ist Folgendes zu beachten:
- Kapazität und Wagenart: Handelt es sich bei dem Wagen um einen Typ mit Lasttraverse/Aufhängeöse oder verfügt er über eine integrierte Kettenzugaufhängung?
- Typ der Talje: Stellen Sie die ordnungsgemäße Kompatibilität zwischen dem Wagen und der Seilwinde sicher.
- Größe und Profil der Schiene: Überprüfen Sie, ob der Wagen den Spezifikationen der Schiene entspricht.
- Anfrage beim Lieferanten: Wenn der Wagen in Hochrisikoumgebungen verwendet wird (Aussetzung gegenüber aggressiven Umgebungen, gefährlichen Materialien oder extremen Temperaturen), ist es unerlässlich, den Lieferanten zu konsultieren.
Lagerung und Handhabung von Wagen
Wenn die Wagen nicht in Gebrauch sind, müssen sie ordnungsgemäß gelagert werden, um Schäden und Korrosion zu vermeiden. Wenn die Seilwinde zur Lagerung entfernt wird, der Wagen jedoch an Ort und Stelle bleibt, sind die folgenden Schritte zu befolgen:
- Geben Sie keine beschädigten Wagen zurück am Lagerort. Stellen Sie sicher, dass sie trocken, sauber und gut vor Korrosion geschützt sind.
- Speichern Sie die Einkaufswagen in einem sauberen und trockenen Bereich, um Schäden zu vermeiden. Abnehmbare Komponenten wie Betriebsketten und Hängekontrollen müssen entfernt, deutlich gekennzeichnet und separat gelagert werden.
- Vermeiden Sie es, fallen zu lassen oder zu werfen Die Wagen, um jeglichen Schaden zu vermeiden.
Instalação e Comissionamento
Befolgen Sie stets die vom Anbieter bereitgestellten spezifischen Installationsanweisungen. Diese Richtlinien sind zusammen mit den Anweisungen der Hebevorrichtung zu beachten, wobei besonderes Augenmerk auf Folgendes zu legen ist:
- Bewegungsschiene: Stellen Sie sicher, dass die Schiene eben ist, mit einer gleichmäßigen Laufoberfläche und positiven Anschlägen, die zur Struktur oder den Flanschen des Wagens passen.
- Warenkorb-Konfiguration: Der Wagen muss mit der richtigen Breite eingestellt werden, wobei die Unterlegkeile gleichmäßig entlang der Mittellinie verteilt sind. Die Radprofile müssen mit dem Querschnitt der Schiene kompatibel sein. Stellen Sie die Absturzsicherungen korrekt ein.
- Demontage und Wiederzusammenbau: Wenn der Wagen für die Installation demontiert wurde, überprüfen Sie, ob alle Komponenten korrekt wieder zusammengebaut wurden. Stellen Sie sicher, dass alle Schrauben und Muttern an ihrem Platz und ordnungsgemäß festgezogen sind. Ersetzen Sie alle entfernten Anschläge.
Sichere Verwendung von Wagen
Der sichere Betrieb eines Wagens hängt von der verwendeten Hebevorrichtung ab. Hier sind jedoch die wichtigsten Punkte für eine sichere Nutzung:
- Defektes Gerät: Verwenden Sie niemals einen Wagen, eine Winde oder irgendein beschädigtes Zubehör.
- Geeignete Positionierung der Ladung: Positionieren Sie den Wagen immer direkt über dem Schwerpunkt der Last. Beladen Sie den Wagen nicht seitlich in einem Winkel, da dies dazu führen kann, dass er kippt, die Schiene beschädigt oder der Wagen sich löst und herunterfällt.
- Immer Schieben, Niemals Ziehen: Beim Gebrauch eines Schieb-/Ziehwagens immer die hängende Last schieben, nicht ziehen. Seien Sie äußerst vorsichtig, um potenzielle Gefahren wie das Schwingen der Last oder das Anstoßen an Hindernisse zu vermeiden.
Dynamische Lasten
Inspeção e Manutenção em Serviço
Die Wartung kann gleichzeitig mit der täglichen Wartung der manuellen Seilwinde durchgeführt werden, wobei sichergestellt wird, dass der Laufwagen sauber ist und alle beweglichen Teile regelmäßig geschmiert werden. Halten Sie die Laufflächen der Räder und die Kontaktbereiche der Schienen frei von Verunreinigungen, einschließlich Schmiermitteln.
Führen Sie Routineinspektionen am Trolley durch. Wenn einer der folgenden Mängel festgestellt wird, leiten Sie das Gerät zur vollständigen Inspektion durch qualifiziertes Personal weiter:
- Beobachtete Verschleißanzeichen
- Beobachtete Schäden an der Fahrbahn oder am Felgenhorn
- Lose Achsbolzen oder Achsstifte
- Porcas soltas
- Placas laterais, barras de carga ou olhais de suspensão deformados
- Beschädigter oder abgenutzter Handstrom
- Defekte oder beschädigte Steuerungen
- Engrenagens de acionamento desgastadas ou lascadas
- Unleserliche Identifikation
Stellen Sie sicher, dass Sie die richtigen Wartungsverfahren befolgen, um die Betriebssicherheit zu gewährleisten und die Lebensdauer des hqlifting-Trollsystems zu verlängern.


















Reviews
There are no reviews yet.