هذه هي وصف المنتج الخاص بك معاد صياغته:
ماركدوان
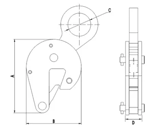
# ملقط لأسطوانة الزيت نوع DLC-C
**رمز المنتج: 1613**
كماشة لأسطوانة زيت نوع DLC-C من hqlifting
تم تصميم ملقط برميل الزيت من نوع DLC-C من hqlifting لرفع ومناولة ونقل براميل الصلب بأمان.
- مصممة لرفع البراميل الفارغة بأمان والبراميل المختومة الممتلئة.
- للطبول المفتوحة الممتلئة، يجب استخدام ملقطين معًا مع حبال سلسلة ذات فرعين.
- يحتوي على آلية قفل تلقائية، مما يزيد من الأمان.
- هيكل خفيف لسهولة المناولة.
- هيكل ملحوم مقاوم للمتانة.
- صيانة سهلة مع توفر قطع الغيار الاستهلاكية عند الطلب.
Especificações
| رمز المنتج | Carga Nominal (t) | Carga de Teste (kN) | فتح الفك (مم) | الأبعاد (مم) | الوزن الصافي (كجم) | رمز الطراز |
|---|---|---|---|---|---|---|
| DLCC005 | 0.5 | 9.8 | 0-17 | أ: 128، ب: 96، ج: 40، د: 28 | 1.6 | 161300500 |
المنتجات ذات الصلة
- طلحة من التيار نوع CH-B
- طلحة دي ألافانكا نوع LH-A
- دليل ترويل نوع PT-FA
- بكرات للحمل الثقيل
الاستخدام الآمن للملاقط
دائمًا:
- قم بتخزين الملاقط والتعامل معها بشكل صحيح.
- افحص الملاقط والإكسسوارات قبل الاستخدام وقبل التخزين.
- تأكد من أن الملقط مثبت بإحكام على الطبل.
- تأكد من أن الملقط فوق مركز ثقل الحمولة مباشرةً.
- تأكد من أن الملقط مغلق تمامًا على الطبل قبل الرفع.
- تأكد من أن الحمولة مدعومة بالكامل قبل تحرير المشبك.
أبداً:
- لا تستخدم الملاقط على الطبول الصلبة أو المصقولة، إلا إذا كانت مصممة خصيصًا لهذا الغرض.
- لا تدخل أي مادة بين الأسطوانة والمخالب.
- لا تحاول رفع عدة طبول بملاقط واحدة.
- لا تغير الاتجاه من عمودي إلى أفقي (أو العكس)، إلا إذا كانت الملاقط مصممة لذلك.
- لا تطبق حمولة مائلة على ملقط عمودي.
- لا تجبر خطاف الرفع في حلقة الملاقط.
اختيار الملقط الصحيح
تأتي الملاقط بمجموعة متنوعة من القدرات والتصاميم، بما في ذلك آليات الرافعة، الكامة، الأسطوانة والبرغي. يجب أن يأخذ اختيار الملقط الصحيح وتخطيط الرفع في الاعتبار:
- نوع الملقط: رافعة، جاء، بكرة أو برغي.
- الحمولة الاسمية وسمك المادة: تأكد من أن الحزام المختار يمكنه تحمل الحمل وسماكة المادة بأمان.
- الحاجة إلى سلاسل السلسلة: قد تتطلب بعض التطبيقات أحزمة لمزيد من الحركة والاستقرار.
ملاحظة 1: بعض تصاميم الملاقط، خاصة تلك التي تحتوي على فكوك كام متحركة
# مشابك الرفع: دليل الاستخدام والصيانة الآمنة
الاستخدام الآمن لمشابك الرفع
- تأكد دائمًا من أن مشابك الرفع خالية من العيوب وفي حالة جيدة قبل استخدامها.
- ما لم يُذكر خلاف ذلك في تعليمات الشركة المصنعة، لا تستخدم المشابك لرفع الأحمال التي يقل وزنها عن 20% من حمولة العمل الآمنة (CTS) أو التي يقل سمكها عن 20% من السمك الأقصى.
- يجب وضع المشابك فوق مركز حمولة اللوح لضمان الوضع الصحيح. بالنسبة للألواح الأطول والمعرضة للانحناء، استخدم مشبكين موضوعين بشكل متماثل بالقرب من مركز الثقل، باستخدام قضيب رفع. تأكد من أن أي مشبك فردي لا يتجاوز حمل العمل الآمن (CTS) الخاص به.
- ثبت المشابك تمامًا على اللوح، مع التأكد من أنها آمنة.
- في أي ظرف من الظروف، لا يجب إدخال أي نوع من الحشوة بين اللوح وفكي المشبك، ولا استخدام مشبك واحد لرفع عدة ألواح في نفس الوقت.
- تجنب استخدام المشابك بزاوية بالنسبة لحافة اللوح أو لتدوير اللوح من الوضع الرأسي إلى الأفقي أو العكس، ما لم يكن المشبك مصممًا لذلك.
- تجنب ملامسة الزيت أو الشحم أو الملوثات المماثلة مع المشابك التي تستخدم مواد تثبيت بالاحتكاك لتثبيت اللوح.
الفحص والصيانة أثناء الاستخدام
- نظف مشابك الرفع بانتظام وادهن الأجزاء المتحركة بفواصل زمنية مناسبة، ما لم يُذكر خلاف ذلك في تعليمات المورد.
- للمشابك التي تحتوي على مادة احتكاك تغطي الفكين، يجب توخي الحذر لتجنب ملامسة المزلق لأسطح الاحتكاك.
- يجب فحص مشابك الرفع بشكل متكرر للتحقق من العيوب المحتملة التالية. إذا تم العثور على أي عيب، يجب إخضاع المشبك لفحص كامل من قبل شخص مؤهل:
- تآكل، ضرر أو
















Reviews
لا توجد مراجعات بعد.